
Après près de 150 ans d’évolutions et alors que l’électrique et la pile à combustible gagnent du terrain, certains constructeurs continuent de challenger le moteur thermique. Aujourd’hui, voir apparaître une architecture vraiment nouvelle est devenu rarissime. Pourtant, Ferrari vient de déposer un brevet pour un 12 cylindres ni en V, ni à plat, mais… en Y. Sur le papier, l’idée paraît étrange. Dans les faits, elle pourrait avoir de vrais avantages.
Dans un contexte où les normes antipollution se durcissent et où la fiscalité sur les véhicules polluants grimpe, Ferrari continue de travailler sur un 12 cylindres. Un choix qui peut surprendre, tant ce type de moteur semble annoncé comme “en sursis”. Et pourtant : la marque le propose toujours, notamment sur la 12Cilindri. De son côté, Lamborghini suit une logique comparable avec la Revuelto.
Si l’hybridation paraît incontournable pour faire durer le 12 cylindres encore quelques années, Ferrari aurait choisi de repartir d’une feuille blanche. La marque a déjà exploré différentes interprétations du V12 au fil du temps, avec divers angles, différentes technologies, et même un moteur à plat sur la Testarossa des années 80. Cette fois, le brevet déposé auprès de l’USPTO décrit un choix inédit : un moteur en Y.
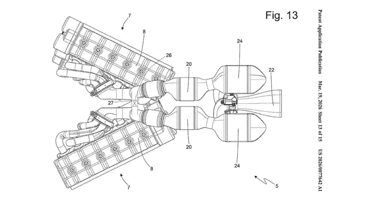
Les moteurs en W du groupe Volkswagen peuvent déjà sembler à part. Mais le Y12 imaginé par Ferrari va encore plus loin. Dans cette configuration, les deux bancs de cylindres ne sont pas physiquement liés. L’idée se rapproche de deux six cylindres en ligne qui travaillent ensemble : chacun a son propre vilebrequin, son carter, sa distribution, etc.
Particularité visuelle et technique : les échappements sont orientés vers l’intérieur, partent en parallèle vers l’arrière, puis se rejoignent. Vu du dessus, l’ensemble dessine donc un Y.
Autre point clé : cette disposition rend impossible l’installation d’une boîte de vitesses. Et c’est justement là que Ferrari change les règles du jeu. Le but n’est pas d’entraîner directement les roues : ce moteur est conçu uniquement pour servir de générateur d’énergie, afin de charger des batteries. Ce sont ensuite les moteurs électriques qui entraînent le véhicule.
Le brevet indique aussi un détail plutôt déroutant : les deux ensembles peuvent fonctionner en même temps, mais à des régimes différents. Et pour garder une sensation “sportive” plus traditionnelle, le système serait complété par une transmission virtuelle, dans l’esprit du S+ Shift déjà vu ailleurs.
Sur le principe, un V6, un V8 ou un V12 “classique” pourrait aussi jouer le rôle de générateur, tout en évitant des coûts de développement importants. Mais Ferrari ne choisit pas cette architecture par simple provocation.
La logique est la suivante : une base large qui se resserre permet de rendre le moteur plus court et d’améliorer la répartition des masses en avançant l’essentiel du poids du bloc. Résultat attendu : plus d’espace libéré à l’arrière du véhicule, donc davantage de liberté pour les trains roulants et pour l’aérodynamique.
Pour l’instant, une grande inconnue demeure : on ne sait pas encore quel véhicule recevra ce moteur, ni si une arrivée est proche. Un brevet ne veut pas forcément dire que le projet est prêt à aboutir.
Avec ce 12 cylindres en Y, Ferrari montre qu’il reste encore des manières inattendues de faire évoluer le moteur thermique, surtout quand il change de rôle pour devenir un générateur au service de l’électrification. Reste à voir si cette idée sortira du papier… et si elle ouvrira une nouvelle voie pour les sportives de demain.
Ferrari a déposé un brevet pour un moteur 12 cylindres en Y, ni en V ni à plat.
Le moteur en Y12 est conçu uniquement pour servir de générateur d’énergie afin de charger des batteries alimentant des moteurs électriques qui entraînent les roues.
Cette disposition rend impossible l’installation d’une boîte de vitesses.
Au-delà de ce V12 en Y, faites vivre votre rêve automobile: de la Ferrari F40 aux icônes d’aujourd’hui, optez pour une LOA souple avec Joinsteer et goûtez à la légende sans contrainte.

De l'achat, à la revente, au financement, en passant par les derniers projets de loi automobile, Voiture Malin est la référence de l'info automobile
