
Changer le style de sa voiture avec des bandes façon course, c’est faisable… mais entre le temps, l’organisation et le savoir-faire, on est loin du « je le fais quand je veux, autant de fois que je veux ». Porsche pourrait bien simplifier tout ça avec une idée radicale : des décorations qui apparaissent (ou disparaissent) sur simple commande, et qui pourraient même changer de couleur selon la façon dont vous conduisez.
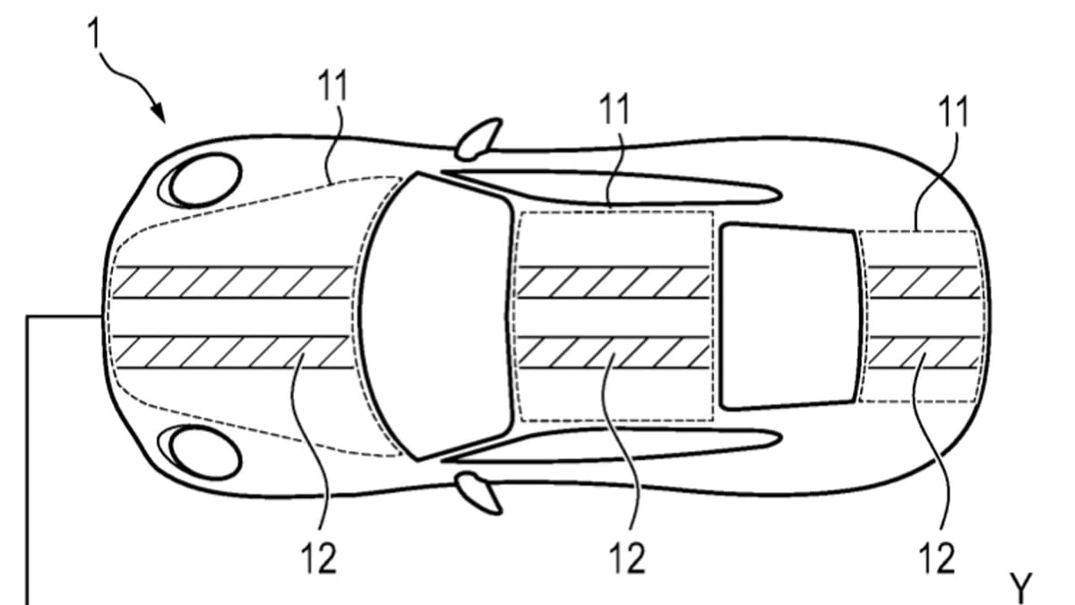
Porsche a déposé un brevet autour d’une personnalisation extérieure instantanée et réversible. Le principe : un film appliqué sur la carrosserie qui réagit à l’électricité. Transparent en temps normal, il se colore lorsqu’il est traversé par un courant électrique.
Concrètement, cela permettrait de rendre une décoration visible ou non à la demande. Plusieurs modèles peuvent déjà recevoir des bandes et motifs très marqués, comme les 911 GT3 et GT3 RS : l’idée serait de pouvoir les afficher ou les effacer sans intervention lourde.
Autre possibilité évoquée : faire évoluer l’apparence en fonction du mode de conduite sélectionné, par exemple en changeant de couleur. Le scénario est simple à visualiser : des bandes vertes en mode éco, rouges en mode sport.
Le brevet mentionne aussi des usages orientés compétition, avec la possibilité de faire apparaître différentes livrées. Les illustrations associées au dépôt montrent également des bandes pouvant se situer sur le diffuseur arrière ou dans les écopes derrière les roues.
Le brevet évoque un second usage : indiquer la charge d’une voiture électrique directement depuis l’extérieur, sans passer par une application dédiée ni entrer dans l’habitacle. L’idée reprend une logique très visuelle : les éléments recouverts par le film changeraient de couleur au fur et à mesure de la recharge, comme une barre de batterie. Par exemple : rouge sous un certain pourcentage, jaune en économie d’énergie, vert en recharge.
Même si certains usages seraient une première dans l’automobile, la technologie en elle-même n’est pas entièrement nouvelle. BMW l’a déjà étudiée sous une forme comparable avec le concept i Vision Dee présenté en 2023.
Ce concept, recouvert d’une base grise, pouvait afficher jusqu’à 32 coloris différents grâce à un film de ce type. Avec 240 segments contrôlés indépendamment, la voiture pouvait même générer des motifs personnalisables.
On peut aussi rapprocher cette idée d’équipements déjà connus : le verre électrochrome que l’on retrouve notamment dans beaucoup de rétroviseurs intérieurs ces dernières années, ou encore certains toits vitrés opacifiants.
Pour le moment, Porsche n’a pas indiqué quand ce système serait disponible sur des véhicules de série, ni quels modèles seraient concernés. Les illustrations montrent surtout une silhouette de 911, mais il s’agit d’une 997, une génération qui n’est plus produite depuis 2012 : difficile d’y voir un indice clair.
Si la technologie arrive sur route, elle pourrait transformer la carrosserie en surface « vivante » : plus expressive, plus utile, et plus adaptée aux envies du moment. Une piste qui donne un aperçu très concret de ce que pourrait être l’esthétique automobile demain.
Un film appliqué sur la carrosserie reste transparent en temps normal et se colore lorsqu’il est traversé par un courant électrique.
La décoration pourrait évoluer en fonction du mode de conduite sélectionné, par exemple en changeant de couleur (vert en mode éco, rouge en mode sport).
Indiquer la charge d’une voiture électrique depuis l’extérieur grâce à des éléments qui changent de couleur au fur et à mesure de la recharge (rouge, jaune, vert selon le niveau).

De l'achat, à la revente, au financement, en passant par les derniers projets de loi automobile, Voiture Malin est la référence de l'info automobile
